Nebelscheinwerfer (Lampentausch): Unterschied zwischen den Versionen
Aus Xedos-Wiki
Zur Navigation springenZur Suche springen| Zeile 1: | Zeile 1: | ||
| + | [[Category:Karosserie]] | ||
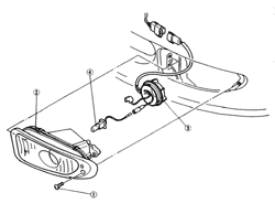
Um beim Xedos 6 die Glühlampen der Nebelscheinwerfer zu wechseln, muss entsprechend der folgenden Skizze... | Um beim Xedos 6 die Glühlampen der Nebelscheinwerfer zu wechseln, muss entsprechend der folgenden Skizze... | ||
Aktuelle Version vom 26. Juni 2007, 16:05 Uhr
Um beim Xedos 6 die Glühlampen der Nebelscheinwerfer zu wechseln, muss entsprechend der folgenden Skizze...
...die von vorne zugängliche Schraube gelöst, der komplette Scheinwerfer nach vorne geklappt und dann leicht seitlich herausgezogen werden.
Der Einbau geschieht dann logischerweise in umgekehrter Reihenfolge.
